Pro Series

1-1/2” Metallic Models

ARO® PRO 1-1/2” metallic diaphragm pumps achieve flow rates of up to 90 GPM (340.7 LPM) and offer a wide array of material and porting configurations. These pumps are often used for transfer, filling, recirculation and batching in Paint, Oil & Gas, Mining, Construction, Chemical and Petrochemical markets.

Ratio

1:1

Maximum Flow

90-g.p.m. (340.7-l.p.m.)

Displacement per cycle

0.64-Gallons (2.42-Liters)

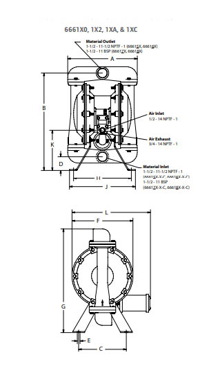
Air Inlet: (Female)

1/2 - 14 N.P.T.F. - 1

Fluid Inlet/Outlet

1-1/2 11-1/2 N.P.T.F. - 1 Rp 1-1/2 (1-1/2 - 11 BSP parallel)

Max. operating pressure

120-psi (8.3-bar)

Suspended solids max. dia.

1/4-inch (6.4-mm)

Weight

lbs (kg) 666150-X-C (aluminum) 51.5 (23.4) 666151-X-C (stainless steel) 84.5 (38.3) 666152-X-C (cast iron) 79.5 (36.1) Note: Add 23-lbs (10.4-kg) for cast iron air motor section

Maximum dry suction lift

ft (m) 19 (5.8)

Sound Level

70 PSI 60 Cycles/Min 80.5 db(A)

Pro Series

Ordering

Accessories

Air Line Connection Kit | 66073-1

(Piggyback Filter/Regulator with gauge, pipe nipple and 5-foot air hose)

Pro Series

Flow Chart

Pro Series

Dimensions